محرك احتراق داخلي يستغني عن الزيت؟ طورت فورد هذه التقنية باستخدام السيراميك ووسادة غاز. اكتشف لماذا لم تنجح.

- كيف كان يعمل محرك فورد بدون زيت؟ استخدم وسادة غاز بدلاً من طبقة الزيت، مع قطع سيراميك لتحمل درجات الحرارة العالية وتقليل الاحتكاك.
- ما هي المواد التي استخدمت في هذا المشروع؟ سيراميك عالي الصلابة ومنخفض التوصيل الحراري، مثل نيتريد السيليكون وكربيد السيليكون.
- لماذا لم يتم إنتاج المفهوم على نطاق واسع؟ تحديات الدقة الميكروسكوبية، وتكاليف التصنيع، والقيود الوظيفية حالت دون جدواه التجارية.
- ما هو تأثير هذا المفهوم حاليًا؟ ألهمت الدراسة التطورات في كفاءة المحركات الحديثة وتقليل الاحتكاك، حتى بدون اعتماد واسع النطاق.
- هل كانت هناك منافسة مباشرة لهذا المفهوم؟ سعت محركات سيراميك تجريبية أخرى إلى حلول مماثلة، لكن لم يتجاوز أي نموذج سيارة إنتاجي مرحلة النموذج الأولي.
تخيل محرك احتراق داخلي لا يرى قطرة زيت، يعمل بدرجات حرارة مرتفعة عن قصد، ويلغي الفاقد الناتج عن احتكاك حلقات المكبس. نعم، كادت فورد أن تصل إلى ذلك في الثمانينيات، بمشروع ثوري استبدل حمام الزيت التقليدي بوسادة غاز رقيقة، واعدًا بكفاءة قصوى وصيانة شبه معدومة. كانت النظرية طموحة: سوائل أقل، فوضى أقل، أداء أعلى. لكن، في النهاية، لماذا لم تصل هذه الابتكار إلى الشوارع؟
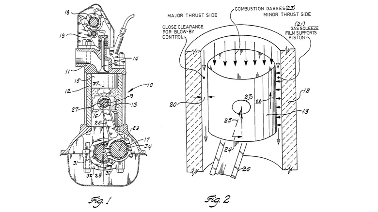
بدا الحل عبقريًا: باستخدام مكابس واسطوانات من السيراميك، ابتكر مشروع فورد فجوة دقيقة بين الأجزاء المتحركة، باستخدام حركة المكبس نفسها لسحب الهواء عبر قنوات دقيقة – مما يشكل ما يسمى بـ “طبقة الغاز المضغوط”، وهي وسادة غاز تفصل المكونات دون الحاجة إلى زيت. هذا، جنبًا إلى جنب مع استخدام مواد مثل نيتريد السيليكون والزركونيا، سمح بالعمل في درجات حرارة عالية، مما يوفر خسائر ميكانيكية أقل واحتراقًا نظيفًا. إذا تم تحقيق ذلك، لكان قد أعاد تعريف ما نعرفه عن محركات الاحتراق الداخلي.

من الناحية التقنية، ألغى المحرك ذو التصميم “بدون زيت” حلقات المكبس، وعمل بفواصل ميكروسكوبية (حوالي 0.025 ملم) وتطلب أسطحًا فائقة النعومة. النتيجة الموعودة كانت أقل من 2% من تسرب الغازات فوق 1500 دورة في الدقيقة، وهو أمر غير مسبوق حتى بمعايير اليوم. ومع ذلك، كان الحفاظ على هذه الفجوة الدقيقة تحت الحرارة والاهتزاز والغبار كابوسًا هندسيًا حقيقيًا.
على عكس السيارات الهجينة الحديثة أو المحركات الكهربائية، التي تشغل بالفعل مكانة بارزة بين البدائل الفعالة، مثل تقدم بطاريات Rimac الصلبة، لم يتجاوز محرك طبقة الغاز الورق بسبب التكاليف المرتفعة للسيراميك، وصعوبة التصنيع الدقيق، والتسامح المنخفض مع الشوائب والصدمات الداخلية – بالإضافة إلى الحاجة إلى زيت للتبريد وتنظيف الأجزاء المتبقية من مجموعة نقل الحركة.
بالإضافة إلى فورد، جربت شركات تصنيع محركات أخرى مفهوم محرك سيراميك بدون زيت مشابه في العقود الأخيرة من القرن العشرين، لكنها جميعًا واجهت نفس حاجز الجدوى على نطاق واسع. هل أنت فضولي لمعرفة المزيد عن مفاهيم السيارات الأخرى التي تحدت القواعد؟ اقرأ المقال عن المحركات الجانبية التي حاولت إطلاق السيارات الكهربائية في عشرينيات القرن الماضي.
بشكل خاص، كان محرك فورد “بدون زيت” سيقدم:
- قطع سيراميك عالية الصلابة
- درجة حرارة تشغيل تصل إلى 1600 درجة مئوية
- فجوات بين المكبس والاسطوانة تبلغ 0.001 بوصة (حوالي 0.025 ملم)
- إلغاء حلقات المكبس التقليدية
- الحد الأقصى لتقليل الاحتكاك الداخلي

مقارنة: محرك فورد بدون زيت مقابل محركات الاحتراق التقليدية
- بدون زيت تشحيم مقابل تشحيم كامل
- سيراميك مقاوم مقابل حديد زهر/ألومنيوم
- عمل في درجات حرارة عالية مقابل حاجة للتبريد المستمر
- تحديات تصنيع قصوى مقابل إنتاج واسع النطاق ومستقر
- تسرب غازات قليل مقابل انبعاثات متوسطة/عالية للغازات غير المحترقة
اليوم، لا يزال البحث عن محرك ذي احتكاك منخفض للغاية حيًا في الصناعة، سواء بالمواد المركبة، أو الزيوت فائقة الرقة، أو الكهرباء الخالصة، كما رأينا في صعود سيارات الدفع الرباعي مثل رينو كليو الهجينة. يبقى إرث “المحرك بدون زيت” حاضرًا في الابتكارات التي تهدف إلى الكفاءة الحرارية والبيئية.
وما رأيك، هل تعتقد أننا سنرى محركًا خاليًا تمامًا من الزيت في مستقبل السيارات، أم أن التحول نحو الكهرباء قد تجاوز هذا الحلم بالفعل؟ اترك تعليقك وشارك رأيك حول مدى جرأة المهندسين!
